APPLE

Company files three new patents to make Apple Watch band smarter
It looks like Apple is playing with the idea of making the Apple Watch’s a bit smarter. As spotted by PatentlyApple, the company was granted a handful of patents this morning, all focused on bringing new tricks to the Watch by way of the band.
One of the patents is for a biometric sensor integrated into a band that could give you a new way to unlock your Watch or paired iPhone instead of using a passcode or Face ID. The patent covers a thermal sensor that could use skin texture and wrist hair patterns to authenticate your identity.
The second granted patent describes a Watch band that can adjust itself on the fly - think Nike's self-tightening shoes, but on your wrist. If the Apple Watch detects that it's sliding while you're running (or if the aforementioned thermal sensors need a closer look at your wrist skin) tensioners in the device could tighten or loosen the band on command.

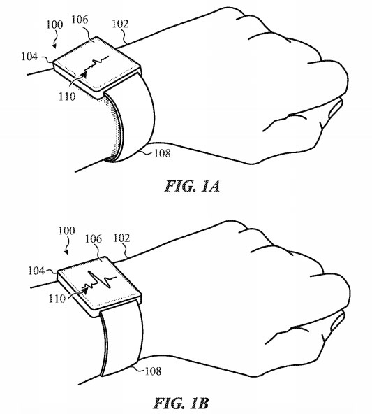
The third and final patent relates to indicators built into a band. They could display details from the Activity app, such as a step counter or heart rate monitor. The band could also highlight the type of activity your watch is tracking, such as running or swimming, which would be a handy way to check your device is recording the correct data.

Apple regularly files patents but doesn't always turn them into real products. Apple has kept its bands relatively simple so far for the sake of keeping them swappable; they come in all sorts of materials and colors, but the electronic bits are contained within the watch itself. So, whether any of these bands come to fruition remains to be seen.
by Airyl Jaszly
No comments:
Post a Comment